online kép - Fájl  tubefájl feltöltés file feltöltés - adja hozzá a fájlokat onlinefedezze fel a legújabb online dokumentumokKapcsolat
  
 

Letöltheto dokumentumok, programok, törvények, tervezetek, javaslatok, egyéb hasznos információk, receptek - Fájl kiterjesztések - fajltube.com

Online dokumentumok - kep
  

Kapcsolasi rajzok szerkesztése



felso sarok

egyéb tételek

jobb felso sarok
 
 
bal also sarok   jobb also sarok

Kapcsolási rajzok szerkesztése

A koncentrált paraméterű hálózatok működése nem függ attól, hogy az alkatrészek hogyan helyezkednek el egymáshoz képest. Noha a kapcsolási rajz ugyancsak tetszőleges topológiájú lehet, mégsem mindegy milyen: sokat segíthet vagy árthat az áramkör működésének megértésében, megértetésében. Ha betartunk néhány egyszerű szabályt, konvenciót, jó rajzot is készíthetünk ugyanannyi idő alatt , mint amennyi egy zavaros, áttekinthetetlen ábrához kell.

Alább három kategóriában ( alapelv, szabály, tanács ) fogla 444j93e ljuk össze a kapcsolási rajz elkészítésével kapcsolatos ismereteket.

A. ALAPELVEK

1.  A rajz legyen mindig félreérthetetlen, tartalmazza egyértelműen az alkatrészek tipusát, értékeit, csatlakozási pontok funkcióit, lábkiosztást, polaritást, stb.

2.  A rajz funkcionálisan legyen felépitve, az egyes részegységek különüljenek el (ne féljünk üresen hagyni a papírlap bizonyos területeit, ha oda nem kívánkozik semmi) !

B. SZABÁLYOK

1.  A vezetékeket függőlegesen és vizszintesen vezessük, ha nincs jó okunk ettől eltérni!

2. A vezetékek kapcsolódását mindig fekete pötty jelölje, a vezetékek kereszteződését nem kell jelölni, a kis kerülő félkör már az 50-es években kiment a divatból.

3. A jelek balról jobbra terjedjenek (bemenetek balszélen, kimenetek jobbszélen) !

4. A lap tetején legyen a pozitív tápfeszültség, az alján a negatív. Az alkatrészek helye, pozíciója lehetőleg tükrözze azok potenciálját (ha ez más fontosabb szemponttal nem ütközik) ! Igy pl az npn tranzisztor emittere alul, a pnp-é felül legyen !

5. Ugyanolyan fajta eszközt, alkatrészt mindig ugyanazzal a szimbólummal jelöljünk.

6. Négy vezeték ne kapcsolódjon egy pontban, kerüljük el, hogy a kereszteződés és a kontaktus összekeveredhessen.

7. Egy eszközt jelképező téglalapba írjuk bele a típusát, nevét, de kívülre írjuk a lábak sorszámait !

8. Minden alkatrésznek fel kell tüntetni a tipusát vagy az értékét, a legjobb megoldás nevet is adni ( pl. R17, IC2, Tr1 ).

C.           TANÁCSOK

1.  A típus, érték , név az alkatrészhez a lehető legközelebb legyen!

2.  A tápfeszültséghez menő vezetékeket nem kell mindig berajzolni, de egyértelműen cimkézni kell ( V+ ,

3.  A funkcionális egységeket célszerű ellátni feliratokkal; jelszintek, jelalkok, és bármi tömör megjegyzés a rajzra való, ha a megértést segíti.

4.  Az egyes alkatrészeket ne rajzoljuk túl közel egymáshoz, inkább szellős legyen, mint zsúfolt!

5.  Ne használjunk azonos szimbólumot funkcionálisan különböző alkatrészek jelölésére! Ne féljünk új szimbólumot kitalálni !

6.  Használjunk különböző kört, négyzetet, hatszöget, stb a különböző csatlakozó sorok kontaktusainak megkülönböztetésére. Legyünk következetesek !

7.  Általában ne rajzoljuk be az integrált áramkörök tápfeszültségeit, de egyértelműen jelöljük, hogy szimmetrikus, vagy egyoldalas tápot igényelnek!

8.  A szabadkézi rajzot célszerű négyzetrácsos (lehetőleg kék, nem-fénymásolódó vonalkázású) papírra ceruzával, vagy vékony rost-tollal készíteni (a golyóstollat mellőzzük, a pacák sok félreértést okozhatnak).

9.  Célszerű a lap jobb alsó részén egy keretben a lényeges dolgokat leírni ( dátum, eszköz neve, tervező, forrás, egyéb hivatkozás ). Pár évvel később nagyon hasznos tud lenni!


D.  JÓ és ROSSZ PÉLDA

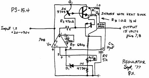
Az alábbi 2.15. ábrán látható kapcsolási rajz baja nem az, hogy kézzel rajzolták.


2.15.ábra


Fedezzen föl minél több lényegi rajzolási hibát!

Ugyanennek a feszültségstabilizátornak a fenti elvek szerint készült rajza a 2.16. ábrán látható. Ugye, áttekinthetőbb !


2.16.ábra


E.            Földelés, nulla, test, árnyékolás

Az elektrosztatikából tudjuk, hogy az elektromos térben egy pont potenciálja nem egyértelmű , csak két pont közötti potenciál-különbség ( ezt nevezzük feszültségnek ) meghatározott.

Ahhoz, hogy a potenciál is egyértelmű legyen, ahhoz az egyik pontot ki kell nevezni nulla potenciálúnak, ettől fogva egy pont potenciálján a nullától mért feszültségét értjük.



2.17.ábra

A hálózatelméletben potenciálja nem egy térbeli pontnak van, hanem a gráf struktúra egy csomópontjának ( a térbeli elhelyezkedésétől függetlenül ). Egy adott alkatrész (kétpólus) ezek után három különböző feszültséggel jellemezhető: a két kivezetésének a potenciálja ( a nullától mért feszültségek ) valamint ezek különbsége, az alkatrészen "eső" feszültség. Általában mind a háromnak az ismerete fontos, a nullától mértek az egész áramkör működésének megértése, az alkatrészen eső feszültség pedig annak terhelhetősége, határértékei miatt.

A 2.17. ábrán látható, hogyan szokás jelölni az áramkör nulla potenciáljú pontját (  ). De melyik legyen ez a pont ? Ennek megválasztása elvileg abszolut tetszőleges, önkényes, de ha már lehet , akkor válasszuk célszerűen. Az elektrosztatikában gyakran a végtelen távoli pontot választják (mert bizonyos integrálokat így lehet kiszámítani), máskor a Föld felszín    ( földelés) lesz a nulla.


2.18.ábra

Az elektronikában a tápegység valamelyik pólusát szoktuk választani, általában a negatívot. Ahol a nullához képest mindkét polaritású jel előfordulhat ( pl. váltakozó feszültség ), gyakran un. kettős tápegységet használunk. Úgy járunk el, hogy sorbakapcsoljuk a két tápegységet (az egyik negatív pólusát összekötjük a másik pozitív pólusával), és a közös pont lesz a nulla (2.18.ábra).

Minthogy a nulla potenciálú pont kitüntetett a kapcsolásban, sokszor kell hozzákapcsolni valamilyen alkatrészt, a kimenet, bemenet egyik pólusa is legtöbbször ez, érdemes külön vezetéket, egy sínt használni . Ez legtöbbször az elektronikai egységet mechanikailag tartó, befoglaló fém keret, doboz. Ezt nevezzük testnek. A NULLA és a TEST tehát igen gyakran ugyanolyan potenciálú pont, a szimbólum eredetileg a testet jelképezte.


b

 

a

 

2.19.ábra

Ismert jelenség, hogy egy külső elektromos erőtérbe helyezett jó vezetőből, fémből készült test belsejében az elektromos térerősség nulla. A fémtest belsejében lévő üregben ugyancsak zérus a térerősség. Ezt árnyékolásnak nevezzük.

Ha tehát meg akarjuk óvni az eszközünket ( pl egy mikrofont ) valami külső tér zavaró hatásától, zárt fémdobozba tesszük ( ezt Faraday-kalitkának is nevezik, felfedezője után ). Ugyanezt kell tennünk, ha a mi készülékünk bocsát ki a környezet számára zavaró sugárzást ( pl. mikrohullámú sütő ). Az árnyékolás rajzjele a szaggatott vonal, (2.19.ábra) amellyel körülvesszük az árnyékolandó egységet, vagy vezetéket ( árnyékolt kábel).

Ez az árnyékoló fémdoboz általában maga a fémváz, a test.

Az általunk önkényesen, bár célszerűen, a konvenciókkal összhangban kiválasztott nullpontunk csak a készüléken belül viszonyítási alap. Hogyan viszonyul ez a környezethez, mindenek előtt a Föld potenciáljához ? Egyáltalán lehet-e beszélni a Föld potenciáljáról ? A földfelszín ekvipotenciális ?

Igen, de bizonyos megszorítással. A közvetlen felszín rendkívül változatos, heterogén összetétele miatt ( aszfalt, szikla, mocsár, búzaföld stb ) elektromos szempontból csak a vízzel átitatott - a benne lévő szennyezések, fémsók miatt elektrolit, tehát viszonylag jó vezető - alsóbb rétegeket tekinthetjük ekvipotenciálisnak, ezt nevezzük FÖLDpotenciálnak. Egy negyedik emeleti lakás műanyagpadlója nincs földpotenciálon, akár sokezer Volt feszültségen is lehet a Földhöz képest, pl. sztatikus feltöltődés miatt. Ezzel szemben a fürdőszoba hidegvízcsöve, amely fémből készült, és a ház előtt végigjövő, két méter mélyen, a vizes földben vezetett fővezetékből ágazott ki, elég jó FÖLDELÉS ( vagyis földpotenciálon van ). Emiatt a vizes kőburkolat a fürdőszobában, a kádban lévő víz szintén le van földelve. Korrekt földelést úgy készítenek, hogy egy nagy felületű ( 1 m2 ) nemkorrodálódó fémlemezt leásnak a talajvíz szintje közelébe (lehetőleg alá) és ehhez kötik a vezetéket, melyet odavezetnek a felhasználóhoz. A földvezeték szigetelésének színe szabványosított: zöld-sárga csíkozású. A földelés kapcsolási rajzjele a 2.19.b ábrán látható.

Ha tehát elektronikus készülékünk fémdobozára - mely egyben a TEST, és ÁRNYÉKOLÁS, valamint az önkényesen választott NULLA - rákötjük a földelő vezetéket, akkor azt LEFÖLDELTÜK, és most azonos potenciálú a Földdel.

Nem szükséges minden elektromos berendezést földelni, csak amelyik működése kapcsolatba kerül a Földdel (pl. rádióadó), vagy életvédelmi, érintésvédelmi szempontból szükséges (pl. mosógép). Ha egy elektronikus eszköz nincs kapcsolatban a földpotenciállal (pl. zsebrádió), akkor az földfüggetlen, "lebeg", nincs meghatározott potenciálja a Földhöz képest.

Öszefoglalás

A kapcsolási rajz szerkesztése

Félreérthetetlenül, szabatosan, a funkcionális struktúrát tükrözze !

Jelek balról jobbra terjedjenek, fent pozitív, lent negatív a potenciál !

Nulla potenciált célszerűen, konvenciók betartásával válasszunk !

A test a készülék fémváza, általában nulla potenciálra kötjük.

Az árnyékoló burkolatot is a testhez kapcsoljuk, és földeljük

Találat: 3299


Felhasználási feltételek